2005
nyarának elején nagy szerencse ért, felkínálták nekem az alább látható
készülékeket egy Telefunken 31B rádiót –vagy ahogy Németországban
jobban ismerik Arcolette 3, ez az elnevezés az egyik
tulajdonos, mérnök és talán fejlesztő is egyben dr. gróf Georg
von Arco után született -, egy Telefunken L666
papírkónuszos és egy Grawor Perkeo tölcséres hangszórót.

1. ábra gróf dr. Georg von Arco
A
történet pedig úgy szólt az eladó részéről , hogy ezt az erősítőt még
a németek használták amikor a zsidókat a koncentrációs táborokba vitték,
az L666 lett volna a mikrofon! Mindjárt tudtam kicsit
eldatálták a dátumot de azért az L666-ra ügyet sem vetettem,
csak később amikor már „ránéztem” jöttem rá, hogy egy klasszikus papírkónuszos
hangszóróhoz van szerencsém.
Áttekintve a kincseket sürgős leltárt készítettem az elvégzendő feladatokról
ezek nagy vonalakban az alábbiak voltak:
Arcolette 3: tisztítás, a fa részek teljes rendbetétele,
telepcsatlakozó-vezeték cserék.
Grawor Perkeo: tisztítás, talp nikkelezése, membrán pótlása,
külső tölcsér feliratozása.
Telefunken L666: spiáter öntvény részek pótlása, papír
kónusz beszerzése, az egyik tekercs tekercselése.
Mindezekhez a munkákhoz külső szakembereket is bevontam így a rádió fa
részei festés helyett, pácolás és lakkozással kerültek megújításra. Nagyon
komoly segítséget kaptam Kóger Lászlótól, Németh
Istvántól és Szécsényi Lajos kollégától is ezenkívül
több szakembert igénybe vettem még a fa részek javítása, tekercselés,
nikkelezés, embléma pótlás miatt. A Grawor membránját egy Finlandia vodkás
üveg díszdoboz fedeléből pótoltam.
A
rádió fedeléből ideiglenesen kivett bekötési rajz alatt újabb meglepetés
ért a Siemens és Halske beütött emblémája
az SH jel.

2. ábra A bekötési rajz alatt felbukkanó Siemens-Halske
embléma
E-mailban
kértem segítséget a legilletékesebbektől, német gyűjtőtársainktól, a válasz
gyorsan megérkezett:
Hallo
Selyem Tóth,
das ist schwer zu sagen. Siemens und Halske und AEG waren die Gründer
von
Telefunken und haben über viel Jahre zusammengearbeitet und auch untereinander
Bauteile
verwendet. So kann es zu dem S+H Zeichen auf einem Telefunken-Radio gekommen
sein.
MFG
Rainer Steinfuehr
És
a fordítás lényege:
"Nehéz megmondani, mivel a Siemens, a Halske és az AEG alapították
a Telefunken céget, évekig közösen dolgoztak, és egymás között cserélgették
az anyagokat, alkatrészeket. Ettől lehet, hogy a Siemens-Halske embléma
szerepel egy Telefunken rádión."
A
továbbiakban beszéljenek a képek, mutatok még néhány képet a felújítással
kapcsolatban.

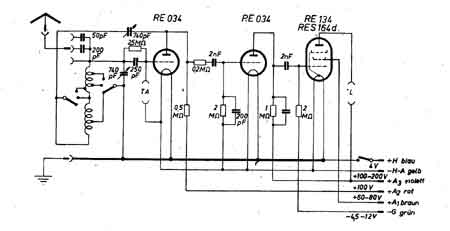
3. ábra A készülék kapcsolási rajza

4. ábra A készülékfedélbe ragasztott bekötési rajz

5. ábra Így néztek ki a megtaláláskor
6. ábra A Telefunken 31B vagy más néven Arcolette
3
Javítás
közben és után:

7. ábra A javítandó, cserélendő alkatrészek egy
„csokra”

8. ábra Részben készen

9. ábra Az L666 hátulról
10. ábra És újra itt az 1920-as évek végének hangulata!
11. ábra Nézzük meg a pótolt Grawor Perkeo emblémát
közelebbről
12. ábra És végül a " beteljesülés" együtt
a "Kincs"!
|